Batterie-Abdeckung und Befestigung

  • Hallo zusammen,

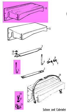
    suche folgende Teile:

    1x Batterie Abdeckung (alte Ausführung mit den 3 Rippen)

    1x J-Bolt hinten

    1x Hacken für "Gummiband"

    Siehe auch angehängte Grafik. Bitte nur Abdeckungen in gutem/sehr gutem Zustand anbieten.

    Im schlechten Zustand hab' ich leider selbst! :rolleyes:

  • Schwupps, mal wieder hochholen.

    Schaut doch mal nach, irgendwer muß doch noch so'ne Andeckung in "Gut" haben!

    Gruß
    Sven

  • ....mittlerweile schon eine in "gut" gefunden?

    ich könnte auch eine gebrauchen....also falls jemand was findet....:-)

    Danke und Grüße

Jetzt mitmachen!

Du hast noch kein Benutzerkonto auf unserer Seite? Registriere dich kostenlos und nimm an unserer Community teil!