• noch eine abschliessende frage zum ventilspiel bzw zur einstellung der selbigen...

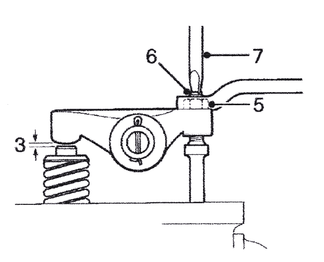
    wie stelle ich fest ob ein ventil GANZ geöffnet ist? es heisst ja in der anleitung 'ventil 1 bei ganz geöffnetem ventil 8' einstellen usw. lässt sich das mit hilfe dieser zeichnung erklären?

  • ok,

    vielleicht ist es besser Du findest jemanden der sich damit auskennt - es gibt in Köln und umzu ja den ein oder anderen Miniclub oder Schrauber - und schaust mal bei so einer Arbeit zu...

    Ventile einstellen ist zwar nicht die spannenste Arbeit am Motor, nur kann man auch da schon eine Menge falsch machen, was u.U. verheerende Folgen haben kann.
    Grundsätzlich sollte man sich schon ein bißchen mit Motortechnik auskennen und zumindest den Grundaufbau verstanden haben.

    Das geht natürlich nicht mal eben so in zwei Sätzen.

    Eine Anleitung zum Ventileeinstellen ist zwar kein Problem, nur wirft event. das ein oder andere die nächste Frage auf.

    Bodo
    (der - wie die meisten hier - auch mal klein angefangen hat...)

    zuviel des guten ist der anfang vom bösen... ;)

  • im werkstatthandbuch wird einbau/ausbau/ventilspieleinstellung in nur 3 seiten abgehandelt und soweit ist mir auch alles klar.
    ich behaupte mal dass das insgesamt nicht schwer ist!
    natürlich ist es nicht schlecht wenn man auch versteht wie das alles funktioniert und nicht nur stur anleitungen befolgt (was man ja auch machen sollte wenn man ein experte ist) aber schaffen kann man das auch auf diesem weg. gute vorbereitung ist alles!

    wenn ich weiss was alles gemacht werden muss kann ich immer noch entscheiden ob ich es machen lasse aber leider bleibt noch die eine frage (s.o.) unbeantwortet.

    edit: die suchfunktion bringt erstaunliches zu tage. na dann...
    https://www.mini-forum.de/showthread.php…ght=ventilspiel

    https://www.mini-forum.de/showthread.php…ght=ventilspiel

  • durch Drehung der Kurbelwelle (4.Gang und vorwärts schieben) und Sichtkontrolle...wenn Ventil ganz unten dann Ventil ganz geöffnet.
    Und dann das gegenüberliegende Ventil auf 0,36 mm Spiel einstellen.

    Zitat

    also 0,35 saugend beim Einlass und 0,35 lose beim Auslass...

    oder so...

    Bodo

    zuviel des guten ist der anfang vom bösen... ;)

  • sorry, aber wie kommt ihr auf 0,36mm ich hab irgendwas von 0,27mm und 0,29mm im kopf, also einlass auf stramme 0,30mm und auslass auf saugende 0,30mm.

    ich stell alle minis so ein und hab moch nie ein verbranntes ventil gehabt.

    kristian cilas

  • Ich kenn das bei orig. Motoren, Einlass 0.30 saugend und Auslass 0.30 gleitend. Zum Bsp. mit HHKW und anderen kleinen Veränderungen ruhig die 0,35 (saugend/gleitend)weil höhere Temp. enstehen.

    Martin

    Minibesitzer seit 9/97

  • ...oder besser: macht die Gewohnheit...!

    Habe bisher immer 0,35 eingestellt, bei HHKHW sogar 0,40mm.

    Im Werkstatthandbuch steht folgendes:

    Std. 0,30
    12A 0,33-0,38

    wobei im MPI-Handbuch steht: 0,27-0,33mm für SPI & MPI, die allerdings auch 12A-Motoren haben...

    Also such Dir was aus...:rolleyes:

    Bodo

    zuviel des guten ist der anfang vom bösen... ;)

  • Das Ventilspiel ist nockenwellenabhängig, daher kommen die Unterschiede.

    If you can't stand a joke, don't drive one

  • ja das macht Sinn, aber
    /dummfrag an/
    eingestellt wird doch auf dem "Grundkreis", und der ist doch eigentlich bei allen Nockenwellen gleich, oder?
    /dummfrag aus/

    Bodo

    zuviel des guten ist der anfang vom bösen... ;)

  • ..der ist eben nicht gleich. Bei "scharfen Nockenwellen", die durch Umschleifen aus STD Nocken erzeugt werden, wird der Grundkreis zwangsläufig kleiner.

    HTH
    Uwe

    Mini Center Holicka
    65554 Limburg
    Schulstr. 19
     06433 / 947513 Uwe Holicka (Ersatzteile, Ersatzteilversand, Tuning Kits und Zubehör)
    info ät mini-center-holicka.de

  • Hallo zusammen,

    ich vermute, dass bei scharfen Nockenwellen das Ventilspiel grösser eingestellt wird, weil durch deren Verwendung die thermische Belastung des Motors und dadurch auch der Ventile steigt. Das Ventilspiel gleicht doch die Ausdehnung der Ventile bei Erwärmung aus, hat also nichts mit dem Grundkreisradius zu tun.

    Wenn das so wäre, müsste man ja bei überholten (nachgeschliffenen) Standard-Nockenwellen das Ventilspiel auch vergrössern.

    Grüsse

    Jörg

    ...because they don't build cars like they used to...

  • Zitat

    Original geschrieben von Lomo
    ..der ist eben nicht gleich. Bei "scharfen Nockenwellen", die durch Umschleifen aus STD Nocken erzeugt werden, wird der Grundkreis zwangsläufig kleiner.

    HTH
    Uwe

    ja, is klar, aber dadurch wird doch nicht automatisch das Ventilspiel größer?

    Eigentlich ist es doch völlig egal wie GROß der "Grundkreis" ist, wichtig ist doch nur das man AUF dem Grundkreis einstellt...

    Gibt es verlässliche Werte, wann welches Ventilspiel zu verwenden ist (Herstellerseitig)?

    :confused: :confused:

    Die Aussage von "Jörg990" macht schon Sinn, ist mir aber zu schwammig, weil "thermische Belastung" ja nicht zwangsläufig nur vom tunen kommen muss...

    Bodo (wills jetzt genau wissen)

    zuviel des guten ist der anfang vom bösen... ;)

  • Wenn dus ganz genau wissen willst mußt du einen Hersteller fragen weil die das Spiel vorgeben. Und die sollten wissen warum.

    If you can't stand a joke, don't drive one

  • Der Grundkreis der Nockenwelle ist dem Ventilspiel vollkommen gleichgültig !

    Der Grundkreis bestimmt nur, wie steil die Rampe des Nockens sein wird.
    Daraus ergibt sich, daß ein kleinerer Grundkreis= eine steilere Rampe = eine schnellere Stößelbecherbeschleunigung.
    Das ist so, weil in ein vorhandenes Material eine gewünschte Ventilsteuerzeit = auch --öffnungszeit hineingeschliffen werden muß bei gleichzeitig gewünschtem Ventilhub.

    Wenn aber oben am Nocken abgenommen werden muß, dann muß unten=gegenüberliegend natürlich entsprechend viel abgenommen werden, um oben wieder den Ventilhub zu erzielen.

    Deshalb ist es so wichtig, daß zum AT eingereichte Altteile oben am Nocken nicht ausgenarbt sind.

    Je kleiner das Ventilspiel, desto kürzer ist die Zeit während der das Ventil Hitze an seinen umgebenden Guß oder Sitzring abgeben kann.
    Je heißer also eine Verbrennung/ein Motor läuft, desto mehr Zeit wünscht sich das Ventil, um Wärme abgeben zu können.

    Daraus lassen sich also diverse Einflüße auf das Ventilspiel ableiten.
    Zum Beispiel:
    --Verdichtung
    --Mager- oder Fettlauf
    --Füllungsgrad der Brennkammer
    --Zündzeitpunkt(bestimmt auch durch die Progressionskurve)

    u s w.

    'D e n' Zündzeitpunkt gibt es also nicht, sondern vom Serienwert ausgehend muß unter Hinzuziehung aller relevanten Aspekte der jeweilig korrekte Wert eingeschätzt werden.

    Zuviel ist dabei sicherer als zuwenig, aber unnötig Leistung zu verschenken, die zuvor gerade mühsam hervorgebracht wurde, das ist auch nicht der richtige Weg.

    Andreas Hohls

    Alle Beiträge verstehen sich als rein sachliche Aussage und tolerieren Meinungen und Vorlieben eines Jeden, auch wenn sie konträr entgegenstünden.

  • Dann lag ich ja zumindest mit MEINEN Ventilen richtig;)

    Aber ist doch eigentlich komisch...da stellt man höchst akribisch "saugend" und "schmatzend" ein und könnte direkt 5/10 weniger Spalt wählen (wenn man denn den Mut zum Risiko hat...)...tz,tz,tz

    Bodo

    zuviel des guten ist der anfang vom bösen... ;)

  • Hallo!

    Zu dem Thema habe ich jetzt auch noch eine Frage.
    Ich habe beim Ventilspiel einstellen den Eindruck gehabt, dass der Spalt zwischen Ventil und Kipphebel nach hinten enger wird. Ich habe also erstmal gemessen und erst die 0,2 mm Lehre ganz in den Spalt schieben können und das bei allen Ventilen. Das letzte mal hatte ich den Mini vor 10tkm in der Werkstatt zur Inspektion.
    Kann das Ventilspiel kleiner werden, oder habe ich es falsch gemessen?
    Nachdem ich jetzt auf 0,3 mm eingestellt habe, meine ich ein Klappern zu hören, aber das kann natürlich auch andere Ursachen haben?

    Gruß Ronald

  • --Unterschiedliches Ventilspiel kann sich dann ergeben, wenn die Druckfläche des Kipphebels 'einläuft'

    --0.2mm Ventilspiel hat ein Motor dann, wenn entweder von vorneherein falsch eingestellt wurde oder aber die Ventile sich in die Sitze anfangen einzuarbeiten, ist gleich quasi 'länger werden'.

    --0.3mm Ventilspiel hört ein gutes Gehör. Ein schlechtes, weil verschlißenes, hört nichteinmal 0.4mm.
    Das ist individuell unterschiedlich.
    (Alle Ventile, die man noch hören kann, sind noch da, lautet die Beruhigung. Ein 40/50 Jahre altes Motorenkonzept läuft selbstverständlich lauter als ein 'ECO-Tec-Irgendwas' der heutigen Generation)

    Andreas Hohls

    Alle Beiträge verstehen sich als rein sachliche Aussage und tolerieren Meinungen und Vorlieben eines Jeden, auch wenn sie konträr entgegenstünden.

Jetzt mitmachen!

Du hast noch kein Benutzerkonto auf unserer Seite? Registriere dich kostenlos und nimm an unserer Community teil!